发布时间:2023年4月12日浏览人数:2962信息来源:涧西区知识产权公共服务平台
为积极推进我区科技成果转化,增强“钱变纸”和“纸变钱”能力,提高专利转化率和实施效率,推动科研创新成果更多惠及区内中小微企业,专用设备制造产业知识产权运营中心不定期发布专利需求征集与推介,免费许可或低价转让给有需求的企业,欢迎咨询!
咨询热线:
15824919931周女士
咨询地址:
涧西区湖北路市场监督管理局一楼大厅(洛阳市专用设备制造产业知识产权运营中心)
专利号:
2019218238972
发明名称:
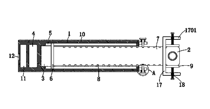
一种绝缘无线可伸缩式图像采集仪
申请日:
20191028
专利权人:
河南科技大学
技术领域:
本实用新型涉及电力施工辅助仪器技术领域,具体涉及一种绝缘无线可伸缩式图像采集仪。
解决技术问题:
目前在用电检查需要检查用户的各项设备运行情况,如检查变压器铭牌、计量箱变比、表计读数、电容器容量等是否与系统内档案相符合,常采用直接接触仪器并对仪表进行数据采集和记录,但由于部分设备安装位置过高肉眼无法直接观察、空间太窄检查人员无法靠近观察或设备带电检查人员无法靠近进行仔细观察。
为了便于观察安装位置过高或检查人员无法靠近观察的设备,现有技术中有可伸缩式图像采集仪,但是其需要将多节的移动杆拉动至特定的长度,才可以保持稳定,此种伸缩方式存在一定的局限性,使用不方便;此外,现有的可伸缩式图像采集仪不便于安装不同型号的图像采集仪,实用效果差。
技术功效:
本实用新型的有益效果主要表现在以下几个方面:
通过手拉移动杆,移动杆的移动时,限位槽对限位杆的弧形面进行挤压,使得限位杆可以脱离限位槽,如此可以拉动移动杆;当将移动杆拉伸至需要的长度时,限位杆在连接块和限位弹簧的作用下延伸至限位槽内并与其相抵,如此可以保证移动杆拉伸后的稳定性,可以稳定的支撑图像采集器;通过转动调节螺栓,可以实现两个夹持板相对或者相反运动,可以对不同型号的图像采集器进行夹持,稳定性足且实用性好。
应用领域:
闭路电视系统
专利示意图:
