发布时间:2023年6月26日浏览人数:2414信息来源:涧西区知识产权公共服务平台
为积极推进我区科技成果转化,增强“钱变纸”和“纸变钱”能力,提高专利转化率和实施效率,推动科研创新成果更多惠及区内中小微企业,专用设备制造产业知识产权运营中心不定期发布专利需求征集与推介,免费许可或低价转让给有需求的企业,欢迎咨询!
咨询热线:
15824919931周女士
咨询地址:
涧西区湖北路市场监督管理局一楼大厅(洛阳市专用设备制造产业知识产权运营中心)
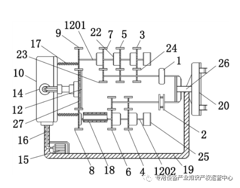
专利号:
2019213783845
发明名称:
一种双离合器变速器
申请日:
20190823
专利权人:
河南科技大学
技术领域:
本实用新型涉及机动车变速器领域,具体涉及一种双离合器变速器。
解决技术问题:
目前,双离合器变速器在实际使用中仍缺乏一定的使用稳定性,由于离合器档位间自动切换速率变快,换挡频繁,在带来换挡顺畅感的同时各档位及啮合齿轮间反复摩擦,使得离合片通常处于高温状态,并且传统结构下不利于散热,长此以往会直接导致该类双离合器变速器的使用损耗增加,磨损严重后离合器的使用寿命也缩短,无形中增加了用车成本,使对双离合器技术的推广也受到了一定限制
技术功效:
应用领域:
齿轮润滑/冷却
专利示意图:
