发布时间:2023年10月14日浏览人数:3289信息来源:涧西区知识产权公共服务平台
为积极推进我区科技成果转化,增强“钱变纸”和“纸变钱”能力,提高专利转化率和实施效率,推动科研创新成果更多惠及区内中小微企业,专用设备制造产业知识产权运营中心不定期发布专利需求征集与推介,免费许可或低价转让给有需求的企业,欢迎咨询!
咨询热线:
15824919931周女士
咨询地址:
涧西区湖北路市场监督管理局一楼大厅(洛阳市专用设备制造产业知识产权运营中心)
专利号:
2019202745290
发明名称:
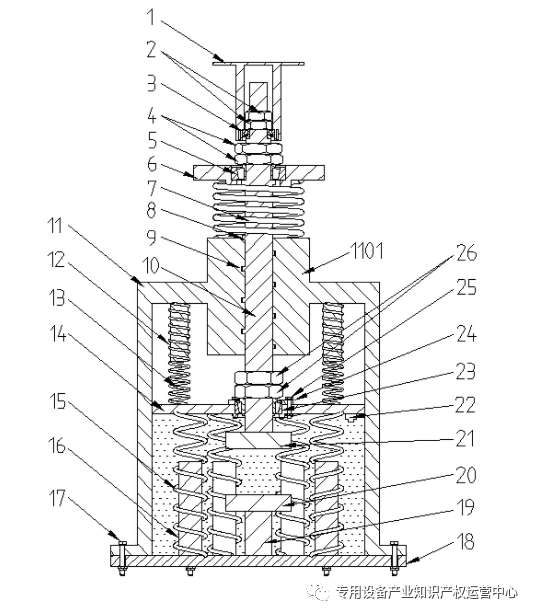
一种基于磁流变液的农业机械用减震装置
申请日:
20190305
专利权人:
河南科技大学
技术领域:
本实用新型涉及农业机械的减震领域,具体涉及一种基于磁流变液的农业机械用减震装置。
解决技术问题:
随着现代科技的进步,我国的机械制造水平和加工水平得到了快速的发展,随之而来的是农业机械的快速发展,然而目前所使用的农业机械,如移栽机和联合收割机,底盘和车架的减震系统通常比较僵硬,在农田地头和崎岖的路面上减震效果不佳,农业机械在驾驶时产生的颠簸比较严重,不仅会降低驾乘人员的舒适度,更会影响驾驶安全,并且剧烈的震动对机械本身的强度和性能也有较大的损害,影响作业质量;现有的减震系统在减震过程中存在的减震幅度太大或幅度太小的缺点,减震幅度太大时,使得减震物体的上下跳动剧烈,影响正常作业,减震幅度太小时,不足以达到减震效果使得减震系统僵硬,舒适度没有得到提高,因此急需一种行之有效的减震系统来解决这样的问题。
技术功效:
采用上述技术方案后,本实用新型具有以下有益效果:
1、本实用新型中弹簧设置有三个级别,弹力缓冲层层递进,能够对大幅度的震动进行有效减缓,第三弹簧的弹性系数小于第一弹簧和第二弹簧使得在经过第三弹簧的舒适缓冲后将较多的震动传递给第一弹簧和第二弹簧,实现减震的平缓舒适;
2、活塞转轴与套筒之间的方形螺纹连接能够产生较大的螺纹摩擦力以减缓震动,活塞转轴上的方形外螺纹设置为分段结构,能够保证活塞转轴在转动的过程中变得更加平稳;
3、第一线圈和第二线圈设置在活塞盘下方的磁流变液中,能够在减震过程中,使状态变化后的磁流变液对活塞盘的整个端面产生挤压阻力,提高了减震能力,减震效果增加;
4、活塞盘上设置位移传感器,位移传感器通过检测活塞盘位移正负变化,以控制第一线圈和第二线圈中电流大小和方向,进而改变磁场大小,从而改变电磁感应斥力和磁力遍野阻尼效果;根据实际中不同环境下的使用需求,可调整相同位移变化下对应的电流大小,使相同位移变化下产生的电磁感应斥力及磁流变液引起的阻尼不同,以提高不同环境下的减震效果;
5、本实用新型利用各级弹簧的弹力、活塞转轴与套筒之间的螺纹摩擦力、第一线圈与第二线圈之间的电磁感应斥力和磁流变液状态改变产生阻力抑制震动,多种力相互结合,共同作用,能够强有力地缓冲震动,使农业机械能更加平稳工作从而提高工作效率,并提高驾乘人员的舒适度,增加驾驶安全性。
应用领域:
弹簧、非旋转振动抑制、液体减振器、减震器、减振器-弹簧组合
专利示意图:
